
为降低炉体温度,在炉壳内侧安装水冷却壁。因为炉体和冷却系统间存在温差,产生轴向相对热位移,这可利用波纹管的横向变形来吸收,保护冷却水管不被剪断,这种波纹管直径虽不大,但是高炉用量最多的部件。
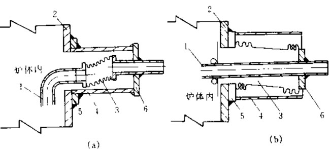
波纹管与炉体及冷却水管的连接有两种典到结构(见图11-4),一种为炉体(2)与护罩(4)为刚性连接的情况,而在冷却水管上连接一单式膨胀节,常用于 空间位置较小的中小型高炉的冷却壁,公称直径为DN25~65mm横向补偿量不大的场合(见图11-4(a));另一种使膨胀节一端与炉体(通过补强圈 5)连接,另一端通过端板(6)与冷却水管相连,这种膨胀节通常为复式膨胀节,常用于空间位置较大的大、中型高炉,横向位移补偿量较大(10~20mm)的场合,公称直径为DN80~200mm。

上图冷却系统用膨胀节示意1-冷却水管;2-炉体;3-波形膨帐节;4-护罩;5-补强圈;6-端板





手机官网
微信加关注

